
1. Release notes
-
Add some assembly and C code regarding fork, execve, inline assembly and .section .bss
-
Add a link to the very nice and fancy Searchable Linux Syscall Table for x86 and x86_64
-
Add GDB (The GNU Debugger) explanation
-
Move some regarding killing the program and exiting the GDB
-
Add info regarding GDB his display, info and auto-display features
-
-
Add write to file example using system calls for Create, Open, Write and Close file
-
Add explaination regarding printing local variables
-
In main.c a small demo regarding invoking the write C-library function
-
Add printing using local variables on the stack
-
Improve toc
-
Better examples, scripts
-
Restructure all the files in separate (project name) dirs
-
Add GDB related options
-
Implement some assignments from the book: Programming from the ground up
-
More files from the book Programming from the ground Up
-
Initial release
2. Todos
Create some C code which prints the args e.g. int main(int argc, char* argv) { … }
You might review the Process Creating Assembly and C below in 2021! :-) for now it rocks!
-
Nieuwe sources (.s files) uitleggen
-
plaatjes inserten uit src/main/asciidoc/images
-
documents inserten uit src/main/asciidoc/files
3. Introduction
Below you find some Assembly I made.
The Assembly is sorted per topic and grows harder and heavier the farther you go …
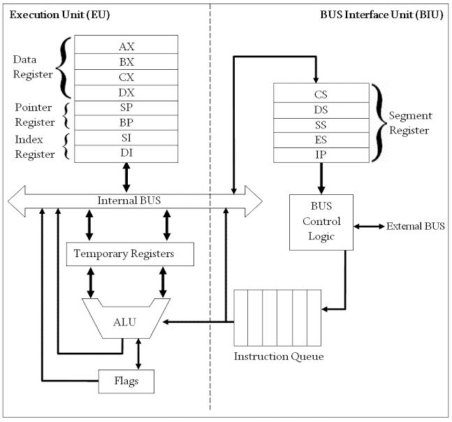
4. Architecture & Images


rloman hier boven de uitleg over dit plaatje plaatjes uit files/Register.txt

5. Scripts used during this document
Scripts used in this document. They will be used to run the assembly code
#!/bin/bash
as --gstabs+ ./$1.s -o $1.o
ld ./$1.o
./a.out
echo $?
#!/bin/bash
as --32 --gstabs+ $1.s -o $1.o
ld -m elf_i386 $1.o
./a.out
echo $?
6. Registers
Although the main registers (with the exception of the instruction pointer) are "general-purpose" in the 32-bit and 64-bit versions of the instruction set and can be used for anything, it was originally envisioned that they be used for the following purposes
-
AL/AH/AX/EAX/RAX: Accumulator
-
BL/BH/BX/EBX/RBX: Base index (for use with arrays)
-
CL/CH/CX/ECX/RCX: Counter (for use with loops and strings)
-
DL/DH/DX/EDX/RDX: Extend the precision of the accumulator (e.g. combine 32-bit EAX and EDX for 64-bit integer operations in 32-bit code) (so called Data Register?)
-
SI/ESI/RSI: Source index for string operations.
-
DI/EDI/RDI: Destination index for string operations.
-
SP/ESP/RSP: Stack pointer for top address of the stack.
-
BP/EBP/RBP: Stack base pointer for holding the address of the current stack frame.
-
IP/EIP/RIP: Instruction pointer. Holds the program counter, the address of next instruction.
-
CS: Code
-
DS: Data
-
SS: Stack
-
ES: Extra data
-
FS: Extra data #2
-
GS: Extra data #3
x86 processors have a collection of registers available to be used as stores for binary data. Collectively the data and address registers are called the general registers. Each register has a special purpose in addition to what they can all do
-
AX (accumulator) multiply/divide, string load & store
-
BX index register for MOVE
-
CX count for string operations & shifts
-
DX port address for IN and OUT
-
SP points to top of the stack
-
BP points to base of the stack frame
-
SI points to a source in stream operations
-
DI points to a destination in stream operations
-
IP instruction pointer
-
FLAGS
-
segment registers (CS, DS, ES, FS, GS, SS) which determine where a 64k segment starts (no FS & GS in 80286 & earlier)
-
extra extension registers (MMX, 3DNow!, SSE, etc.) (Pentium & later only).
The IP register points to the memory offset of the next instruction in the code segment (it points to the first byte of the instruction). The IP register cannot be accessed by the programmer directly.
mov ax, 1234h ; copies the value 1234hex (4660d) into register AX
mov bx, ax ; copies the value of the AX register into the BX register
mov $1234, %rax # copies the value 1234hex (4660d) into register AX
mov %rax, %rbx # copies the value of the AX register into the BX register
7. Addressing
This is how you write indexed addressing mode instructions in assembly language
-
movl BEGINNINGADDRESS(,%INDEXREGISTER,WORDSIZE)
mov data_items(,%edi,4), %eax # in this case the data_items is pointer to an address
8. BSS section
The .bss section is a static memory section that contains buffers for data to be declared at runtime.
This buffer memory is zero-filled.
In the .bss section, you can’t set an initial value.
This is useful for buffers because we don’t need to initialize them anyway, we just need to reserve storage.
.section .bss
.lcomm my_buffer, 500
This directive, .lcomm, will create a symbol, my_buffer , that refers to a 500-byte storage location that we can use as a buffer.
.section .bss
.lcomm my_buffer, 500 # .lcomm::= local common area (private), where .comm::= common area
.section .data
file: .string "./hello.keep" # File to read from
.section .text
.globl _start
_start:
open_a_file:
mov $2, %rax # sys_open
mov $file, %rdi # file
mov $0644, %rsi # Read/Write permissions
syscall
read_file_into_buffer:
mov %rax, %rdi # fd should be in %rdi (64 bits)
mov $my_buffer, %rsi
mov $500, %rdx
mov $0, %rax
syscall
print_buffer:
mov %rax, %rdx # message string length (readed before entered the number of bytes in %rax)
## sys_write(stream, message, length)
mov $1, %rax # sys_write is syscallnr. 1
mov $1, %rdi # the fd for stdout is 1
mov $my_buffer, %rsi # message address
syscall
close_the_file:
mov $3, %rax # syscallnr. 3 is close, and rdi still contains the fd
syscall
exit:
mov %rdx, %rdi #the status code for the exit systemcall should be in %rdi, in this case the bytes read
mov $60, %rax # now the rax register contains 60 which is the systemcall number for the exit syscall
syscall #invoke the system call
9. Assembly for starters
9.1. Exit (64 bits)
9.1.1. What: Exit
This topic will show how to perform an exit system call using an syscall instruction
| The program will produce strange results if any number is greater than 255, because that’s the largest allowed exit status using the exit system call |
9.1.2. How: Exit
-
set 60 to the %rax
-
set the return status code to the %rdi registger, e.g. 3
-
invoke a software interrupt using the 64bit x86 syscall instruction
9.1.3. Source: Exit
.section .text
.globl _start
_start:
mov $60, %rax # 60 is the syscall number for 64-bits assembly
mov $3, %rdi # the status code for the exit systemcall should be in %rdi
syscall #invoke the system call
#!/bin/bash
as --gstabs+ ./$1.s -o $1.o
ld ./$1.o
./a.out
echo $?
./64bit.sh exit
3
9.2. Exit (32 bits)
9.2.1. What: Exit
This topic will show how to perform an exit system call using an int instruction
9.2.2. How: Exit
-
set 1 to the %eax
-
set the return status code to the %ebx, e.g. 5
-
invoke a software interrupt using the int instruction
9.2.3. Source: Exit
.section .text
.globl _start
_start:
movl $1, %eax # now the eax register contains 1 which is the systemcall number for the exit syscall
movl $5, %ebx #the status code for the exit systemcall should be in %ebx
int $0x80 #invoke the system call
#!/bin/bash
as --32 --gstabs+ $1.s -o $1.o
ld -m elf_i386 $1.o
./a.out
echo $?
./32bit.sh exit
5
9.3. Hello world (64 bit)
9.3.1. What: Hello world!
This topic shows the classic example: printing Hello world in Assembly
|
It uses the write(…) systemcall
Syntax ⇒ write(int fd, char* message, int length)
|
-
1 ⇒ write to stdout
-
message ⇒ the message to write
-
13 ⇒ the length of the message
9.3.2. How: Hello world
-
set $1 to the accumulator %rax: the syscallnr. (1) and use the following parameters ⇒
-
set $1 to the %rdi: the fd, stdout
-
set the address of the to be printed string in the %rsi register
-
set the length in the %rdx register
-
9.3.3. Source: Hello world
.section .text
.global _start
_start:
# write(1, message, 13)
mov $1, %rax # system call 1 is write
mov $1, %rdi # file handle 1 is stdout
mov $message, %rsi # address of string to output
mov $13, %rdx # number of bytes
syscall # invoke operating system to do the write
# exit(0)
mov $60, %rax # system call 60 is exit
xor %rdi, %rdi # we want return code 0
syscall # invoke operating system to exit
message:
.asciz "Hello, world\n"
#!/bin/bash
as --gstabs+ ./$1.s -o $1.o
ld ./$1.o
./a.out
echo $?
./64bit.sh hello
=> Hello, world
=> 0
9.4. Printing a numeric value
9.4.1. What: Printing a numeric value
This topic shows how to print a numeric value to the console
The print-int-32.s example shows how to print using native assembly instructions
The printvalue.s example shows how to print using the C-library printf function
9.4.2. How: Printing a numeric value
-
set $4 to the accumulator %eax: the syscallnr. (4) and use the following parameters ⇒
-
set $1 to the %ebx: the fd, stdout
-
set the address of the to be printed string in the %ecx register
-
set the length in the %edx register
-
invoke the kernel using the int $0x80 instruction
-
Create a format string
-
set the first parameter ⇒ the address of the format string in register %rdi
-
set the second parameter ⇒ the to be printed integer in %rsi (in this case 312)
-
cleanup the accumulator (%rax)
-
invoke the printf using the call printf assembly instruction
9.4.3. Source: Printing a numeric value
Source: print-int-32.s
.section .text
.globl _start
_start:
movl $4, %eax # sys_write function code
movl $1, %ebx # file descriptor (sysout)
movl $string, %ecx # starting address of string
movl $length, %edx # length of string
int $0x80 # transfer to kernel with code 0x80 (system call) to print the above
movl $1, %eax # sys_exit function code
movl $0, %ebx # return code 0 (OK)
int $0x80 # transfer to kernel and exit program
string:
.asciz "33\n"
strend:
length = strend - string
#!/bin/bash
as --32 --gstabs+ $1.s -o $1.o
ld -m elf_i386 $1.o
./a.out
echo $?
./32-bit.sh print_int_32
=> 33
Source: printvalue.s
.section .data
.section .text
.global _start
_start:
format:
.asciz "%d\n"
mov $format, %rdi # set 1st parameter (format)
mov $312, %rsi # set 2nd parameter (current_number)
xor %rax, %rax # because printf is varargs
# Stack is already aligned because we pushed three 8 byte registers
call printf # printf(format, current_number)
exit:
mov $60, %rax # system call 60 is exit
xor %rdi, %rdi # we want return code 0
syscall # invoke operating system to exit
#!/bin/bash
#-e main -s eventueel toevoegen als het startsymbol anders heet dan _start (rloman dit nog weg of uitzoeken)
as --gstabs+ -o $1.o ./$1.s
ld -dynamic-linker /lib64/ld-linux-x86-64.so.2 -lc -melf_x86_64 ./$1.o
./a.out
./do_with_link.sh printvalue
=> 312
9.5. Printing local variables
9.5.1. What: Printing local variables
-
using a pop version
-
using a move from %rsp
Especially show attention to the used .format string with is used during the printf C-library function call
And when you are interested in why the %rax register is zero’d during te invoke of the printf function then follow this link
The rest of the code below should be self explaining.
9.5.2. Source: Printing local variables
.section .data
.section .text
.global _start
_start:
push $77
format:
.asciz "%d\n" # this format may also be below or above in .section .data but needed
# 1 (pop - version)
mov $format, %rdi # set 1st parameter (format)
pop %rsi # set 2nd parameter (current_number)
xor %rax, %rax # mov $0, %rax using xor (faster) and because printf is varargs
call printf # printf(format, current_number)
# 2 (move the content of %rsp to %rsi - version)
mov $format, %rdi # set 1st parameter (format)
mov (%rsp), %rsi # set 2nd parameter (current_number)
xor %rax, %rax # because printf is varargs
call printf # printf(format, current_number)
exit:
mov $60, %rax # system call 60 is exit
xor %rdi, %rdi # we want return code 0
syscall # invoke operating system to exit
#!/bin/bash
#-e main -s eventueel toevoegen als het startsymbol anders heet dan _start (rloman dit nog weg of uitzoeken)
as --gstabs+ -o $1.o ./$1.s
ld -dynamic-linker /lib64/ld-linux-x86-64.so.2 -lc -melf_x86_64 ./$1.o
./a.out
./do_with_link.sh print_local_stack_var
=> 77
9.6. Write to file
9.6.1. What: Write to file
-
Create
-
Open
-
Write
-
Close
9.6.2. Source: Write to file
.section .data
message: .asciz "Hello World!\n" # message and newline
strend: length = strend - message # this is the length of the string (dynamic)
file: .string "./hello.out" # File to write
.section .text
.global _start
_start:
open_file:
## sys_open(file, permissions)
mov $2, %rax # sys_open
mov $file, %rdi # file
mov $0644, %rsi # Read/Write permissions
syscall
check_if_exists:
## File exists?
mov $0, %rdx
cmp %rax, %rdx
jle write
create:
## sys_create(file, permissions)
mov $85, %rax # sys_create
mov $file, %rdi # file
mov $0644, %rsi # Read/Write permissions
syscall
test_creation:
## File created sucessfully?
mov $0, %rdx
cmp %rdx, %rax # the %rax now contains the file descriptor and test for value <= 0
jle exit
write:
mov %rax, %rbx # File descriptor copy
## sys_write(stream, message, length)
mov $1, %rax # sys_write is syscallnr. 1
mov %rbx, %rdi # the fd
mov $message, %rsi # message address
mov $length, %rdx # message string length
syscall
# close the file
# rdi still contains the fd
mov $3, %rax # syscallnr. 3 is close
syscall
exit:
## sys_exit(return_code)
mov $60, %rax # sys_exit
mov $0, %rdi # return 0 (success)
syscall
#!/bin/bash
as --gstabs+ ./$1.s -o $1.o
ld ./$1.o
./a.out
echo $?
./64bit.sh write_to_file
=> 0
$ cat ./hello.out
=> Hello World!
10. Advanced Assembly
10.1. The Set Directive
10.1.1. What: The Set Directive
This topic will demo how to use Assembler Directives
10.1.2. How: The Set Directive
The code is pretty heavy but rather self explaining. Since if you reached this part of the document, the part above should be obvious and you can read on here …
10.1.3. Source: The Set Directive
.global _start
.section .text
.set sys_write, 1
.set stdout, 1
.set sys_exit, 60
_start:
mov $sys_write, %rax # system call 1 is write
mov $stdout, %rdi # file handle 1 is stdout
mov $message, %rsi # address of string to output
mov $14, %rdx # number of bytes
syscall # invoke operating system to do the write
# exit(0)
mov $sys_exit, %rax # system call 60 is exit
mov $0, %rdi # we want return code 0
syscall # invoke operating system to exit
message:
.asciz "Hello, world\n"
#!/bin/bash
as --gstabs+ ./$1.s -o $1.o
ld ./$1.o
./a.out
echo $?
./64bit.sh hello_world_using_set_directive_64_bit
=> Hello, world
10.2. Add (64 bit)
10.2.1. What: Add (64 bit)
This topic will show how to add using 64 bit assembly instruct.
10.2.2. How: Add (64 bit)
Adding is done by adding some values to the %rax register also called the accumulator
In this example there will be a number in the accumulator the %rax register and in the %rbx They will be added to the %rax The result will be moved to %rdi since that will be result code of the exit systemcall
10.2.3. Source: Add (64 bit)
.section .data:
.section .text
.globl _start
_start:
mov $5, %rax
add $3, %rax
mov %rax, %rdi #the status code should be in %rdi
mov $60, %rax # exit system call number
syscall #invoke the system call
#!/bin/bash
as simple_add.s -o simple_add.o
ld simple_add.o
./a.out
echo $?
./simple_add.sh
13
10.3. Calling a Function
10.3.1. What: Calling a Function
This topic will show how to declare and call a function
10.3.2. How: Calling a Function
| The stack grows downwards |
-
optional: push the parameters on the stack
-
invoke the function using the call assembly instruct
-
the call instruct does nothing more than jump to a label
-
-
save the base pointer ⇒ push %rbp
-
make the stack pointer the base pointer ⇒ mov %rsp, %rbp
-
do something in the function body
-
e.g. move the first parameter, again parameter to %rax ⇒ mov 24(%rbp), %rax
-
e.g. add the second parameter to %rax ⇒ add 16(%rbp), %rax
-
-
restore the stack pointer ⇒ mov %rbp, %rsp
-
restore the old (pushed) base pointer - to be able to recursive calls ⇒ pop %rbp
-
return using the ret instruct
-
the stack now contains the old %rip
-
pop that and go back to that address
-
returning the value of %rax as the result of the function
-
-
Optional: clean up the parameters
-
By adding 8bytes / parameter to the stack pointer e.g. 2 vars: add $16, %rsp
-
10.3.3. Source: Calling a Function
# this file is even created by the src/main/scripts/assapp script
.section .text
.globl _start
_start:
push $5
push $3
call add
# set back the stack to before the call (e.g. remove the pars)
add $16, %rsp
mov %rax, %rdi #the status code for the exit systemcall should be in %rdi, in this case the result of the add function
mov $60, %rax # now the rax register contains 60 which is the systemcall number for the exit syscall
syscall #invoke the system call
add:
# save the base pointer
push %rbp
# make the stack pointer the base pointer
mov %rsp, %rbp
# move the first parameter, again parameter to %rax, be aware that the top of the %rbp, points to the saved base pointer, hence 8+2*8
mov 24(%rbp), %rax
# add the second parameter to %rax, see above for explaination
add 16(%rbp), %rax
# restore the stack pointer
mov %rbp, %rsp
# restore the old (pushed) base pointer, to be able to recursive calls
pop %rbp
ret
#!/bin/bash
as --gstabs+ ./$1.s -o $1.o
ld ./$1.o
./a.out
echo $?
./64bit.sh function-and-call
=> 8
10.4. Add using a Function call (32 bit)
10.4.1. What: Add (32 bit)
This topic will show how to add using 32 bit assembly function call
10.4.2. How: Add (32 bit)
Adding is done here using a function call
10.4.3. Source: Add (32 bit)
#PURPOSE:Program to illustrate how functions work. This program will compute 8+5
.section .data
.section .text
.globl _start
_start:
pushl $8 # place 8 on the top of the stack
pushl $5 # place 5 on the top of the stack hence the stack is now: [8,5] (top is right in the example)
call add # invoke the add function
addl $8, %esp # when done, the %esp (stack pointer) is incremented by 8, hence pointing back to before the first pushed value above
movl %eax, %ebx # set the content of the accumulator in the the %ebx register (the resulting statuscode)
movl $1, %eax # (and %ebx is the status code (the result))
int $0x80 # And exit
# This function adds to numbers
# variables:
## %eax - holds the first number (a)
## %ebx - holds the second number (b)
## -4(%ebp) - holds the current result
## %eax - used for temporary storage
.type add, @function
add:
pushl %ebp # save old base pointer
movl %esp, %ebp # make stack pointer the base pointer
#subl $8, %esp # get room for our local storage # not perse neede here
movl 8(%ebp), %eax # put second (pushed) argument in %ecx which is the FIRST parameter!!! (a)
movl 12(%ebp), %ebx # put first (pushed) argument in %ebx which is the SECOND parameter!!! (b)
addl %ebx, %eax
# kind a local var this
movl %eax, -4(%ebp) # store current result not perse neede here
# this is a small one, but for later calculation using the local var (1) is handy
movl -4(%ebp), %eax # return value goes in %eax # not perse needed here since already in accumulator.
movl %ebp, %esp # restore the stack pointer
popl %ebp # restore the base pointer
ret # return from function
#!/bin/bash
as --32 --gstabs+ add.s -o add.o
ld -m elf_i386 add.o
./a.out
echo $?
./add.sh
13
10.5. Add plus One incl. local variable
10.5.1. What: Add plus One
This topic will show how to perform result = a+b+1
10.5.2. How: Add plus One
Adding is done here using a function call and there will be one added
10.5.3. Source: Add plus One
.section .text
.set sys_write, 1
.set stdout, 1
.set sys_exit, 60
.global _start
_start:
#push the first argument on the stack
push $21
# push the second argument on the stack
push $34
# call the function
call add_plus_one
# add 8 bytesx2 (one 64 bit var) to remove the arguments from the stackframe
add $16, %rsp
# perform exit(%rdi);
mov %rax, %rdi
mov $sys_exit, %rax
syscall
.type add_plus_one, @function
add_plus_one:
# save %rbp and move %rsp to %rbp
## this is to save the %rbp for recursive calling
push %rbp
mov %rsp, %rbp
# create room for a (one) local variable
#move the stack pointer 8 (x8)=64 bits down for one 64bit local variable
## and that will be used below to store our intermediate
sub $8, %rsp
# add the first(24(%rsbp)) and second(16(%rbp)) parameterto the %rax register
mov 24(%rbp), %rax
add 16(%rbp), %rax
# increment with one
inc %rax
# set the content of the %rax to the local variable, just for demo purposes
mov %rax, -8(%rbp)
# set the (final) result in the accumulator (%rax), since that will be returned using the ret instruction below
mov -8(%rbp), %rax
#restore the stack pointer
mov %rbp, %rsp
# restore the (saved) basepointer
pop %rbp
# and return from function, which returns the content of the %rax register, after popping to the %rip, so it returns to the
# next instructions after the caller
ret
#!/bin/bash
as --gstabs+ ./$1.s -o $1.o
ld ./$1.o
./a.out
echo $?
./64bit.sh add_plus_one
56
10.6. Remainder operator (%)
10.6.1. What: Remainder operator
This topic will demo how to calculate the remainder of two arguments
10.6.2. How: Remainder operator
Suppose we want to calculate the remainder of a/b e.g. a = 8003 and b = 100
8003 ⇒ %eax 100 ⇒ %ecx
When we execute the div instruct, then
%ecx contains the result (80) %edx contains the remainder, 3 in our example
10.6.3. Source: Remainder operator
.section .text
.globl _start
_start:
xor %ecx, %ecx # clear dividend
movl $8003, %eax # argument 1
movl $100, %ecx # argument 2
div %ecx # arg1/arg2 => %ecx
movl %edx, %ebx # move the remainder (in %edx) to %ebx (for status code)
exit:
movl $1, %eax # exit
int $0x80 # invoke the system call
#!/bin/bash
as --32 --gstabs+ $1.s -o $1.o
ld -m elf_i386 $1.o
./a.out
echo $?
./32bit.sh remainder
=> 3
10.7. Max of three
10.7.1. What: Max of three
This topic will demo how to find the max of three variables
10.7.2. How: Max of three
This example shows the compare and the jump instruct, the rest seems pretty self explaining - after having seen the code above
10.7.3. Source: Max of three
.section .data
var1: .int 40
var2: .int 20
var3: .int 30
.section .text
.globl _start
_start:
# move the contents of variables
movl (var1), %ecx
cmpl (var2), %ecx
jg check_third_var
movl (var2), %ecx
check_third_var:
cmpl (var3), %ecx
jg _exit
movl (var3), %ecx
_exit:
movl $1, %eax
movl %ecx, %ebx
int $0x80
#!/bin/bash
as --32 --gstabs+ $1.s -o $1.o
ld -m elf_i386 $1.o
./a.out
echo $?
./32bit.sh max_of_three_global_vars
=> 40
11. Complex Assembly
11.1. Max of a set of numbers
11.1.1. What: Max of a set of numbers
This topic will demo how to find the max of a set of numbers
11.1.2. How: Max of a set of numbers
This example shows the compare and the jump instruct, the rest seems pretty self explaining - after having seen the code above
11.1.3. Source: Max of a set of numbers
#PURPOSE:This program finds the maximum number of a set of data items.
# Credits Book Programming from the Ground up (see Resources)
#VARIABLES: The registers have the following uses:
# %edi - Holds the index of the data item being examined
# %ebx - Largest data item found
# %eax - Current data item
## WARNING: Since the statuscode of a C program < 255, the max number in the list
## below should be 255
# The following memory locations are used:
# data_items - contains the item data. A 0 is used to terminate the data
.section .data
#These are the data items
data_items:
.long 3,67,34,222,45,75,54,34,44,33,22,11,66,0
.section .text
.globl _start
_start:
movl $0, %edi # move 0 into the index register
movl data_items(,%edi,4), %eax # load the first byte of data from data_items[%edi] into %eax upto and not including the 4(th) byte (long!)
movl %eax, %ebx # since this is the first item, %eax is the biggest
start_loop:
cmpl $0, %eax # check to see if we’ve hit the end
je loop_exit # exit the loop if they are equal
incl %edi # else load next value
movl data_items(,%edi,4), %eax
cmpl %ebx, %eax # compare values => jle means below compare the content of %eax with %ebx and if eax < ebx do nothing, jump if eax le ebx so other way
jle start_loop # if less or equal go to start loop (the new one is not bigger, e.g. the new one is le )
movl %eax, %ebx # else, move the value as the largest
jmp start_loop # uncondition jump to start of the loop
loop_exit: # we are done now
movl $1, %eax #1 is the exit() syscall
# %ebx is the status code for the exit system call and it already has the maximum number
int $0x80
#!/bin/bash
as --32 --gstabs+ $1.s -o $1.o
ld -m elf_i386 $1.o
./a.out
echo $?
./32bit.sh maximum_of_a_set
=> 222
11.2. Min of a set of numbers
11.2.1. What: Min of a set of numbers
This topic will demo how to find the minimum of a set of numbers
11.2.2. How: Min of a set of numbers
This example shows the compare and the jump instruct, the rest seems pretty self explaining - after having seen the code above
11.2.3. Source: Max of a set of numbers
#PURPOSE:This program finds the minimum number of a set of data items.
#VARIABLES: The registers have the following uses:
# %edi - Holds the index of the data item being examined
# %ebx - Largest data item found
# %eax - Current data item
# The following memory locations are used:
# data_items - contains the item data. A 0 is used to terminate the data
.section .data
#These are the data items
data_items:
.long 67,34,3,222,45,75,54,34,44,33,22,11,66,255
.section .text
.globl _start
_start:
movl $0, %edi # move 0 into the index register
movl data_items(,%edi,4), %eax # load the first byte of data from data_items[%edi] into %eax upto and not including the 4(th) byte (long!)
movl %eax, %ebx # since this is the first item, %eax is the smallest
start_loop:
cmpl $255, %eax # check to see if we’ve hit the end
je loop_exit # exit the loop if they are equal
incl %edi # else load next value
movl data_items(,%edi,4), %eax
cmpl %ebx, %eax # compare values
jg start_loop # if less or equal go to start loop (the new one is not bigger, e.g. the new one is le )
movl %eax, %ebx # else, move the value as the smallest
jmp start_loop # uncondition jump to start of the loop
loop_exit:
movl $1, %eax # exit with the status code in the %ebx register
int $0x80
#!/bin/bash
as --32 --gstabs+ $1.s -o $1.o
ld -m elf_i386 $1.o
./a.out
echo $?
./32bit.sh minimum
=> 3
11.3. Fibonacci
11.3.1. What: Fibonacci
This topic will demo how to print the first 90 fibon numbers and shows how to invoke the C-library printf function
11.3.2. How: Fibonacci
This assembly code has to be explained more rloman … rloman en het script do_with_link is prima maar die -e main mag weg???
11.3.3. Source: Fibonacci
# -----------------------------------------------------------------------------
# A 64-bit Linux application that writes the first 90 Fibonacci numbers. It
# needs to be linked with a C library.
#
# Assemble and Link:
# gcc fib.s
# -----------------------------------------------------------------------------
.global _start
.text
_start:
push %rbx # we have to save this since we use it
mov $90, %rcx # rcx will countdown to 0
xor %rax, %rax # rax will hold the current number, now zero (xor is faster than mov $0, %rax)
xor %rbx, %rbx # rbx will hold the next number, idem, now zero
inc %rbx # rbx is originally 1
.type print, @function
print:
# We need to call printf, but we are using eax, ebx, and ecx. printf
# may destroy eax and ecx so we will save these (by pushing on the stack) before the call and
# restore them afterwards.
push %rax # caller-save register
push %rcx # caller-save register
mov $format, %rdi # set 1st parameter (format)
mov %rax, %rsi # set 2nd parameter (current_number)
xor %rax, %rax # because printf is varargs
# Stack is already aligned because we pushed three 8 byte registers
# printf(format, current_number) (calls the C-library function, not to be confused with a syscall)
call printf
pop %rcx # restore caller-save register
pop %rax # restore caller-save register
mov %rax, %rdx # save the current number
mov %rbx, %rax # next number is now current
add %rdx, %rbx # get the new next number
dec %rcx # count down
jnz print # if not done counting, do some more print (comparing with %rcx)
pop %rbx # restore rbx before returning
#exit
mov $60, %rax
mov $0, %rdi
syscall
format:
.asciz "%20ld\n"
#!/bin/bash
#-e main -s eventueel toevoegen als het startsymbol anders heet dan _start (rloman dit nog weg of uitzoeken)
as --gstabs+ -o $1.o ./$1.s
ld -dynamic-linker /lib64/ld-linux-x86-64.so.2 -lc -melf_x86_64 ./$1.o
./a.out
./do_with_link.sh fibon
0
1
1
2
3
5
8
13
21
...
1779979416004714189
11.4. Power operator
11.4.1. What: Power operator
This topic will demo how to calculate the result of a number raised to the power of anumber number
11.4.2. How: Power operator
The code is pretty heavy but rather self explaining. Since if you reached this part of the document, the part above should be obvious and you can read on here …
11.4.3. Source: Power operator
#PURPOSE:Program to illustrate how functions work. This program will compute the value of 2^3 + 5^2
# Credits Book Programming from the Ground up (see Resources)
.section .data
.section .text
.globl _start
_start:
pushl $3 # place 3 on the top of the stack
pushl $2 # place 2 on the top of the stack hence the stack is now: [3,2] (top is right in the example)
call power # invoke the power function
addl $8, %esp # move the stack pointer back (4bytes per argument)
pushl %eax # push the (sub) result (the content of the accumulator) on the stack
###### now the second power invocation
pushl $2 # push second argument
pushl $5 # push first argument
call power # again, call power
addl $8, %esp # move the stack pointer back
popl %ebx # since we saved it before 'push %eax' (line 15) we can now pop that old result in %ebx register
#eax now contains the result of the 2^5 call
addl %eax, %ebx # add them to the %ebx register
movl $1, %eax # (and %ebx is the status code (the result))
int $0x80 # And exit
# This function raises number to a power
# variables:
## %ebx - holds the base number
## %ecx - holds the power to raise to
## -4(%ebp) - holds the current result
## %eax - used for temporary storage
.type power, @function
power:
pushl %ebp # save old base pointer
movl %esp, %ebp # make stack pointer the base pointer
subl $4, %esp # get room for our local storage
movl 8(%ebp), %ebx # put first argument in %ebx
movl 12(%ebp), %ecx # put second argument in %ecx
movl %ebx, -4(%ebp) # store current result to local var 1
power_loop_start:
cmpl $1, %ecx # if the power is 1, we are done
je end_power
movl -4(%ebp), %eax # move the current result into %eax
imull %ebx, %eax # multiply the current result by the base number
movl %eax, -4(%ebp) # store the current result
decl %ecx # decrease the power
jmp power_loop_start # run for the next power
end_power:
movl -4(%ebp), %eax # return value goes in %eax
movl %ebp, %esp # restore the stack pointer
pop (%ebp) # restore the base pointer
ret # return from function
#!/bin/bash
as --32 --gstabs+ $1.s -o $1.o
ld -m elf_i386 $1.o
./a.out
echo $?
./32bit.sh power
=> 33 # since 2^3 +5^2 = 33
11.5. Printing arguments
11.5.1. What: Printing arguments
This topic will demo how to iteratore over and print arguments supplied in the commandline
11.5.2. How: Printing arguments
The code is pretty heavy but rather self explaining. Since if you reached this part of the document, the part above should be obvious and you can read on here …
11.5.3. Source: Printing arguments
SYS_WRITE = 1
STDOUT = 1
.section .data
newline: .ascii "\n"
newline_end: NEWLINE_LEN = newline_end-newline
.section .text
.globl _start
_start:
mov (%rsp), %r8 # 0(%rsp) = # args. This code doesn't use it. Only save it to R8 as an example.
lea 16(%rsp), %rbx # 8(%rsp)=pointer to prog name, # 16(%rsp)=pointer to 1st parameter
.argloop:
mov (%rbx), %rsi # Get current cmd line parameter pointer
test %rsi, %rsi
jz .exit # If it's zero we are finished
# Compute length of current cmd line parameter
# Starting at the address in RSI (current parameter) search until
# we find a NUL(0) terminating character.
# rdx = length not including terminating NUL character
xor %rdx, %rdx # RDX = character index = 0
mov %rdx, %rax # RAX = terminating character NUL(0) to look for
.strlenloop:
inc %rdx # advance to next character index
cmpb %al, -1(%rsi,%rdx)# Is character at previous char index
# a NUL(0) character?
jne .strlenloop # If it isn't a NUL(0) char then loop again
dec %rdx # We don't want strlen to include NUL(0)
# Display the cmd line argument
# sys_write requires:
# rdi = output device number
# rsi = pointer to string (command line argument)
# rdx = length
#
mov $STDOUT, %rdi
mov $SYS_WRITE, %rax
syscall
# display a new line
mov $NEWLINE_LEN, %rdx
lea newline(%rip), %rsi # We use RIP addressing for the
# string address
mov $SYS_WRITE, %rax
syscall
add $8, %rbx # Go to next cmd line argument pointer
# In 64-bit pointers are 8 bytes
# lea 8(%rbx), %rbx # This LEA instruction can replace the
# ADD since we don't care about the flags
# rbx = 8 + rbx (flags unaltered)
jmp .argloop
.exit:
xor %rdi, %rdi
mov $60, %rax
syscall
#!/bin/bash
as --gstabs+ ./$1.s -o $1.o
ld ./$1.o
./a.out
echo $?
./a.out aap noot mies
=> aap
=> noot
=> mies
11.5.4. Resources: Printing arguments
I used this link regarding Cycle Through and Print argv array in x64 ASM - Stack Overflow which was pretty helpful
12. Process Creation
12.1. Assembly instructions
.section .text
.global _start
_start:
# fork using 57 syscallnr.
mov $57, %rax
syscall
# write(1, message, 13)
mov $1, %rax # system call 1 is write
mov $1, %rdi # file handle 1 is stdout
mov $message, %rsi # address of string to output
mov $13, %rdx # number of bytes
syscall # invoke operating system to do the write
# exit(0)
mov $60, %rax # system call 60 is exit
xor %rdi, %rdi # we want return code 0
syscall # invoke operating system to exit
message:
.asciz "Hello, world\n"
.section .data
pid: .asciz " The pid is: %d\n"
ppid: .asciz "The ppid is: %d\n"
.section .text
.globl _start
_start:
mov $39, %rax # getpid system call
syscall
mov $pid, %rdi # set 1st parameter (format)
mov %rax, %rsi # set 2nd parameter (current_number)
xor %rax, %rax # because printf is varargs
call printf # printf(format, current_number)
mov $110, %rax # getppid system call (get parent pid!)
syscall
mov $ppid, %rdi # set 1st parameter (format)
mov %rax, %rsi # set 2nd parameter (current_number)
xor %rax, %rax # because printf is varargs
call printf # printf(format, current_number)
mov $0, %rdi #the status code for the exit systemcall should be in %rdi
mov $60, %rax # now the rax register contains 60 which is the systemcall number for the exit syscall
syscall #invoke the system call
.section .data
ls:
.asciz "/bin/ls"
.section .text
.global _start
_start:
mov $ls, %rdi # %rdi must contain the address of the filename (in this case the address of the ls var above)
lea 8(%rsp), %rsi # %rsi must contain the address of argv, lea::= Load Effective Address
## in this case, skip over the command itself and start with 8 bytes above the command to find the argv
mov $0, %rdx # %rdx contains the environment, zero, null, nada for now
mov $59, %rax # system call 59 is execve
syscall # invoke operating system to do the write
# no need to exit, since execve replaces stack, heap, data and text section
12.2. C instructions
#include <stdio.h>
#include <stdlib.h>
#include <unistd.h>
#include <sys/types.h>
int main() {
// make two processes which run same program after this instruction
fork();
printf("Hello world!\n");
return 0;
}
#include <stdio.h>
#include <stdlib.h>
#include <unistd.h>
#include <sys/types.h>
int main() {
if(fork()) { // parent
printf("Hello world parent!\n");
}
else { // child
printf("Hello world child!\n");
}
return 0;
}
#include <stdio.h>
#include <stdlib.h>
#include <unistd.h>
#include <sys/types.h>
int main() {
// make two processes which run same program after this instruction
pid_t pid = fork();
if(pid) { // parent
printf("Hello world parent! (child pid is:%d)\n", pid);
}
else { // child
printf("Hello world child! (child pid is:%d)\n", pid);
}
return 0;
}
// pid_t waitpid( pid_t pid, int * stat_loc, int options );
#include <stdio.h>
#include <stdlib.h>
#include <unistd.h>
#include <sys/types.h>
#include <sys/wait.h>
int main() {
// make two processes which run same program after this instruction
int childExitStatus;
int pid = fork();
if(pid) { // parent
// wait
int result = waitpid(pid, &childExitStatus, 0);
printf("Hello world parent! (child pid is:%d)\n", pid);
int actual_exit = WEXITSTATUS(childExitStatus);
printf("Exit status of child: %d\n", actual_exit);
}
else { // child
printf("Hello world child! (child pid is:%d (should be zero here))\n", pid);
}
return 7;
}
#include <stdio.h>
#include <stdlib.h>
#include <unistd.h>
#include <sys/types.h>
int main() {
pid_t r;
if(fork()) { // parent
printf("Hello world parent!\n");
}
else { // child
printf("Hello world child!\n");
char* args[] = {"ls", "-l", "-t", "-r", NULL};
r = execv("/bin/ls", args);
// :-) this statement below will NOT be executed. You know why?
printf("execv result => %d\n", r);
}
return r;
}
13. Inline Assembly in C
| This only works with 32 bit assembly |
-
%0 is output var (line 0 is the first)
-
%1 is input var (line 1 is the second)
-
The last line is the 'clobbered' list registers, which do not need an extra '%' prefix
-
You reach for a register in inline assembly with an extra prefixed '%' e.g. %eax ⇒ %%eax
#include <stdio.h>
#include <stdlib.h>
#include <unistd.h>
#include <sys/types.h>
int main() {
int in=10;
int out;
asm("mov %1, %%eax;" // instead of SEMICOLON could also finish this line with \n\t
"mov %%eax, %0;"
:"=r"(out) /* output */
:"r"(in) /* input */
:"%eax" /* clobbered register(s) */
);
printf("Result: %d\n\n", out);
// nog 1
asm("mov %1, %%eax\n"
"add %%eax, %0"
:"=r" (out)
:"r" (in)
:"%eax"
);
printf("Output is: %d\n", out);
int result = 0;
int x = 103;
int y = 102;
asm ("mov %1, %0;"
"add %2, %0;"
: "=r" (result)
: "r" (x), "r" (y)
:"%eax"
);
printf("The result of adding using two input-parameters is: %d\n", result);
return 0;
}
14. GDB
During this section we will learn you how to debug an x86 assembly app
| The commands in the debugger below can almost all be abbrevated |
(gdb) info breakpoints
(gdb) i b # same effect
14.1. Enabling the debugging
-
Add --gstabs or --gstabs+ to add debugging information
$ as --gstabs+ ./hello_world.s -o hello_world.o
$ ld hello_world.o
14.2. Running the debugging
$ gdb a.out
$ (gdb) help
(gdb) l
(gdb) run [arg1][args] ...
(gdb) show args
(gdb) run aap noot mies
Starting program: /home/rloman/repo/assembly-onderzoek/src/main/assembly/hello-world/a.out aap noot mies
Breakpoint 1, _start () at ./hello.s:7
7 mov $1, %rax # system call 1 is write
(gdb) show args
Argument list to give program being debugged when it is started is "aap noot mies".
(gdb)
14.3. Registers
(gdb) info register
(gdb) info registers
(gdb) info register rax
14.4. Using breakpoints
(gdb) break <lineNumber> (gdb) break label (gdb) break *addr # set a breakpoint at memory address (gdb) break fn # set a breakpoint at the beginning of function 'fn'
(gdb) nexti
(gdb) n
(gdb) stepi
(gdb) s
(gdb) finish
(gdb) info breakpoints
(gdb) continue
(gdb) clear
(gdb) disable
(gdb) enable
(gdb) delete [bpnum1] [bpnum2] ## deletes the breakpoints or all if none specified
14.5. Examining the call stack
(gdb) where
(gdb) backtrace
(gdb) frame
(gdb) up
(gdb) down
14.6. Examining Registers and Memory
-
x(hexadecimal)
-
u (unsigned decimal)
-
o (octal)
-
a(address)
-
c (character)
-
f (floating point)
Print the content of a register reg using format f
(gdb) print/u $rdi # print the content of register %rdi using format unsigned int
Print the contents of memory address addr using repeat count r, size s, and format f . Repeat count defaults to 1 if not specified. Size can be b (byte), h(halfword), w (word), or g (double word). Size defaults to word if not specified. Format is the same as for print, with the additions of s (string) and i (instruction).
(gdb) x/1wu _start # display the contents of address **_start** once, in word and expecting an unsigned int
At each break, print the contents of register reg using format f
(gdb) display/u $rdi # example to print the content of register %rdi every break in (expecting) unsigned int format
At each break, print the contents of memory address addr using size s (same options as for the x command)
(gdb) display/w _start # print the content of the address at label start per breakpoint
Shows a numbered list of expressions set up to display automatically at each break.
(gdb) info display
Auto-display expressions now in effect:
Num Enb Expression
2: y /u $rdi
Remove displaynum from the display list
(gdb) undisplay 1 # removes the number 1 entry which is found during info display
14.7. Killing the program
(gdb) kill
14.8. Exiting GDB
(gdb) quit
-
See Page 289 of the book Programming from the ground up
15. General resources
-
$ gcc -c hello.s && ld hello.o && ./a.out
-
%rax is always required to be loaded with the system call number
-
The standard name of the start label is _start, zie exit.s
-
Handy command: $ stat <file> shows some stat(istics) regarding a file
-
Kernel note: A thread is a proces with a shared address space
16. Further reading
A fundamental introduction to x86 assembly programming |
https://www.nayuki.io/page/a-fundamental-introduction-to-x86-assembly-programming |
Using AS |
|
A good to read Wikibooks regarding X86 Assembly |
|
x64 Cheat Sheet |
|
Searchable Linux Syscall Table for x86 and x86_64 |
|
The GNU Assembler explained |
|
AS explained |
|
Intel code table (old) |
|
Versions of Hello World in C and Assembly |
https://montcs.bloomu.edu/~bobmon/Code/Asm.and.C/hello-asms.html |
Printing integers in NASM Assembly |
https://stackoverflow.com/questions/6903435/nasm-linux-assembly-printing-integers |
Linux 2.xx Syscalls intro (German) |
|
x86 Architecture |